

安 阳
土 拍
情 报
地产哨兵•深耕河南
(上方图片▲,放大高清)地产哨兵•值得信赖
一、土拍台帐•哨兵梳理
(上方图片▲,放大高清)
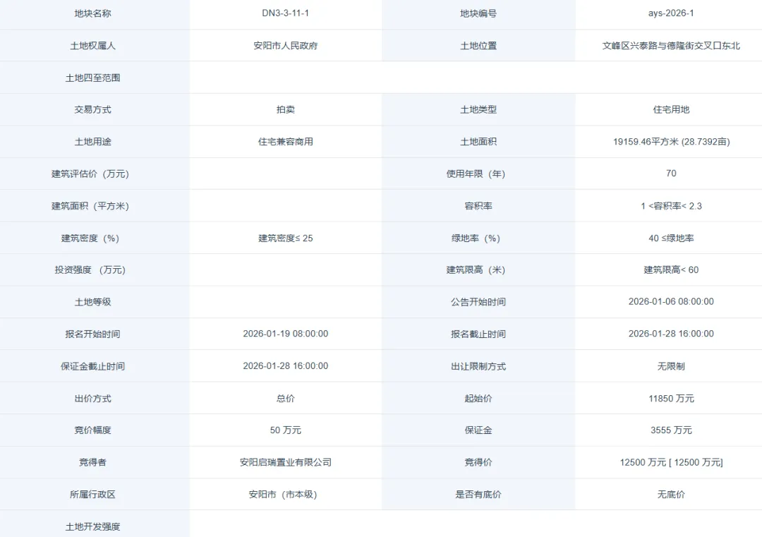
(上方图片▲,放大高清)(一)地块编号: ays-2026-1
(二)地块位置: 文峰区兴泰路与德隆街交叉口东北
(三)地块四至范围:
(四)出让面积(平方米): 19159.46
(五)土地权属来源批复文件:
(六)土地估价报告备案号:
(七)土地用途: 住宅兼容商用
(八)规划容积率: 1<容积率<2.3
(九)规划建筑密度(%): 建筑密度≤25
(十)绿地率(%): 40≤绿地率
(十一)土地开发程度:
(十二)土地使用权出让年期(年): 70
(上方图片▲,放大高清)
(上方图片▲,放大高清)
(上方图片▲,放大高清)


(上方图片▲,放大高清)

(上方图片▲,放大高清)
【利他思维】:地产哨兵,深耕河南,所有市县,覆盖完全。全网粉丝已数万,目前已建微信粉丝群12个,地产高管5000余名,助力企业拿地,只要拿地,地产哨兵,鼎力支持。 【招聘应聘】:地产高管,免费招聘,个人简历,跳过人资,直达老板,高效投递,免费投递。 【老板特权】:土拍情报,热门土拍,哨兵必跟,粉丝群内,实时更新。内幕消息,特权信息,老板群见,老哥说过,老板9群,只拉老板,房企老板,欢迎进群,共享资源。 一、兼职员工:你的品牌,你的业务,你来提供内容素材,哨兵帮你全力推广。
二、营销模式:1.微信群覆盖:12个微信群,工作日每天推送2次,节假日视情况调整。地产哨兵•深度好文
【安阳】殷三路北侧,万泰明科技5759万,228万/亩摘地25亩
【安阳】平原路东侧,润达地产2.67亿,300万/亩摘地89亩
【安阳】溢价2800万,合泰地产1.97亿,422万/亩摘地47亩
【安阳】3.52亿新地王,润安溢价1.09亿,723万/亩摘地49亩
【安阳】文峰大道北侧,淮谦地产6161万,286万/亩摘地22亩
【安阳】楼面王4105元/平,和泰地产,溢价1150万,摘地18亩
【安阳】卷烟厂西邻,淮谦地产1.26亿,248万/亩地51亩
【安阳】宜居地产竞价102轮,溢价5050万,504万/亩摘地30亩
【安阳】建业城南侧,润安集团溢价4800万,422万/亩摘地39亩
【安阳】枫荷青云筑北,纬地集团1.4亿,315万/亩摘地44亩
【安阳】迎宾公园南,峥赫地产溢价2800万,2.13亿摘地55亩
【安阳】公安局东侧,润安集团,溢价2000万,356万/亩摘地49亩
【安阳】建工集团,竞价24轮,溢价2300万,1.68亿摘地54亩
【安阳】赵顺英竞价29轮,溢价3900万,550万/亩摘地29亩
【安阳】合泰地产,竞价85轮,溢价48%,633万/亩摘地41亩
【安阳】2025年供地计划,住宅用地30宗1398亩,附宗地明细表
【安阳】2024年商品房销售134万方,增速0%,附各县区明细
【安阳】23年住宅销售134万方,下降14.2%,附各县区明细
地产哨兵•优质视频
