当前位置:首页>郑州>量子传感新突破:郑州大学发明氮空位色心量子特性与传感灵敏度表征集成设备

量子传感新突破:郑州大学发明氮空位色心量子特性与传感灵敏度表征集成设备

  • 2026-03-31 08:07:36
量子传感新突破:郑州大学发明氮空位色心量子特性与传感灵敏度表征集成设备

量子传感新突破:郑州大学发明氮空位色心量子特性与传感灵敏度表征集成设备

📅 发布时间:2026年2月3日🏫 研发单位:郑州大学📋 专利号:CN 121453735 A

💡 核心亮点

✓ 国内首个集成化NV色心量子特性与传感灵敏度双重表征平台

✓ 无需硬件重构即可快速切换测量模式,效率提升3-5倍

✓ 桌面级小型化设计,打破传统设备体积庞大的限制

✓ 软硬件深度集成,实现自动化测量与智能数据分析

一、技术背景:量子传感的关键瓶颈

金刚石氮空位(NV)色心作为量子传感领域的明星材料,在室温下具备长相干时间、光学可极化和可读出等优异特性,被认为是实现高灵敏度磁场、电场、温度和应力传感器的理想平台。然而,NV色心量子传感器从实验室研究走向产业化应用的过程中,面临着一个关键挑战:

痛点1:现有量子特性表征设备体积庞大,需要复杂的自由空间光路搭建和精密时序控制,通常固定部署在专门的光学实验室,限制了应用场景的灵活性。

痛点2:当前商业设备功能单一,能测量量子特性但缺乏传感灵敏度评估能力。需要同时评估时,研究人员必须使用两套独立设备或进行繁琐的硬件重构,严重降低实验效率。

痛点3:分离式测量难以保证实验条件一致性,影响数据准确性和可比性,不利于NV色心材料的全面性能评估。

二、创新方案:四大模块协同的集成化设计

郑州大学单崇新教授团队针对上述痛点,创新性地设计了一款高度集成的氮空位色心量子特性和传感灵敏度表征设备。该设备通过模块化设计和智能光路切换,在单一平台上实现了双重功能。

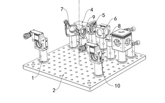
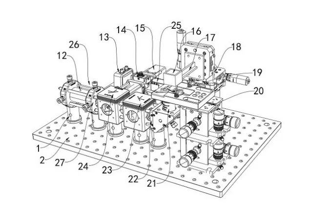
(AI专利生图 非产品实物图)

🔬 1. 激光模块:灵活的光源控制系统

技术参数

激光波长    532nm(绿光,适配NV色心激发波长)

工作模式    连续激光(CW)/ 纳秒级脉冲激光

核心器件    声光调制器(AOM,100MHz)+ 光纤耦合器

耦合效率    约85%(两种工作模式下)

脉冲衍射效率    约48%(一级衍射光)

创新点:通过可调节的平面反射镜设计,激光束可选择性地绕过或通过声光调制器,无需更换硬件即可在连续激光和脉冲激光之间快速切换。连续模式用于传感灵敏度评估,脉冲模式用于量子特性表征,一套系统两种功能。

🔭 2. 倒置光学显微镜模块:多模式荧光探测

这是系统的核心功能区,集成于一个光学显微镜盒子内,实现了样品激发、精密定位和多模式探测的一体化。

关键组件

物镜规格    50X,数值孔径(NA)0.55,焦距4mm

样品定位    三维位移台(微米/亚微米级精度)

磁场控制    永磁体(20×20×20mm)+ 精密位移台

探测支路    三路:成像、单光子计数、模拟信号

核心创新:光路选择机构

  • 成像支路:
    可旋转式反射镜置入光路 → 荧光反射至相机 → 用于样品形貌观察和激光对准
  • 共聚焦单光子计数支路:
    反射镜移出 → 荧光通过共聚焦小孔(空间滤波)→ 单光子计数器探测 → 用于量子特性表征(Rabi振荡、Ramsey干涉、Hahn回波等)
  • 模拟信号探测支路:
    荧光引导至光电探测器 → 转换为模拟电压信号 → 锁相放大器处理 → 用于连续波光探测磁共振(CW-ODMR)和传感灵敏度评估

"通过可旋转式反射镜和分束镜的巧妙组合,系统实现了三种探测模式的无缝切换,无需拆卸任何硬件。这是设备高效率的关键所在。"

⚡ 3. 电子控制与数据采集模块:智能协同的大脑

该模块是系统的控制中枢,负责精密时序控制、射频/微波信号生成和多通道数据采集。

核心组件

时序控制器    数字延时脉冲信号发生器(国仪量子ASG8100)

微波源    普源精电DSG836(频率可调,支持调制)

射频驱动    ADF4351射频源(100MHz,驱动声光调制器)

信号处理    锁相放大器(用于CW-ODMR和灵敏度评估)

光子探测    单光子计数器(SPCM-AQRH-14-FC,最高2Mcps)

双工作模式:

  1. 脉冲工作模式:
    数字延时脉冲发生器生成同步的TTL脉冲序列,控制激光脉冲、微波脉冲和单光子计数门控的精确时序,实现纳秒级时间分辨的量子态操控
  2. 连续/调制工作模式:
    锁相放大器产生低频参考信号调制微波源,光电探测器输出信号经锁相解调,从高背景噪声中提取微弱的荧光调制信号,用于高信噪比ODMR谱测量

💻 4. 系统软件控制模块:用户友好的操作界面

基于Python和PyQt5开发的图形用户界面(GUI),将复杂的量子测量流程封装为标准化任务,实现一键式操作。

软件功能亮点

  • 实时荧光成像显示,辅助样品对焦和激光光斑定位
  • 光子计数实时监控,优化激光功率至探测器线性区
  • 自动生成脉冲序列(Rabi、Ramsey、Hahn回波等)
  • 协同控制锁相放大器和微波源进行扫频和调制
  • 实时绘制ODMR谱线和噪声谱密度曲线
  • 自动计算传感灵敏度(T/√Hz单位)和艾伦方差

三、技术优势:三大突破性创新

🎯 高度集成

将量子特性表征和传感灵敏度评估两种功能集成于一个平台,改变了传统需要两套设备或繁琐重构的局面

🚀 快速切换

通过可旋转式反射镜和光路选择机构,实现探测模式的快速切换,测量效率提升3-5倍

📦 小型化设计

模块封装于盒子内,整体搭建于光学面包板上,物理尺寸缩小至桌面规格,便携性大幅提升

🤖 自动化测量

软件协同控制各模块,自动生成脉冲序列或锁相扫频信号,减少人工干预,提升数据稳定性

性能指标对比

与传统方案对比

设备体积

缩小至传统设备的1/3,实现桌面级部署

功能集成度

2合1(量子特性 + 传感灵敏度),传统方案需2套设备

模式切换时间

< 2分钟(软件控制),传统方案需30-60分钟硬件重构

测量效率

提升3-5倍,可在相同实验条件下连续完成多项测试

操作复杂度

GUI一键式操作,降低对专业技能的依赖

四、应用场景:从实验室到产业化

🔬 1. 科研领域

  • 金刚石NV色心材料研发:
    快速评估不同制备工艺(离子注入、CVD生长等)的NV色心浓度、量子相干时间(T1、T2、T2*)和传感性能,加速材料优化迭代
  • 量子传感器原型验证:
    在同一平台上完成量子特性表征和实际传感性能测试,缩短研发周期
  • 极端条件下的量子物理研究:
    可扩展集成低温系统、高压金刚石对顶砧,实现宽温区、宽压强下的量子态研究

🏭 2. 工业应用

  • 磁场传感器性能检测:
    汽车、航空航天领域的磁场传感器质量控制,评估灵敏度、稳定性和动态范围
  • 生物医学成像:
    基于NV色心的纳米级磁共振成像(MRI)技术,用于单细胞磁场探测和神经活动监测
  • 温度和应力传感:
    半导体制造、精密加工过程中的实时温度和应力监测

🎓 3. 教育培训

  • 量子技术教学实验平台:
    为高校量子信息、量子光学课程提供直观的实验演示工具
  • 工程师技能培训:
    量子传感器企业内部培训,快速掌握NV色心表征技术

五、市场前景:量子传感的千亿级蓝海

根据市场研究机构预测,全球量子传感器市场规模预计将从2023年的约5亿美元增长至2030年的超过20亿美元,复合年增长率(CAGR)超过20%。其中,基于金刚石NV色心的量子传感器因其室温工作、高灵敏度和多物理量探测能力,被认为是最具商业化潜力的技术路线之一。

📈 市场驱动因素

  1. 国防安全需求:
    高灵敏度磁场探测在潜艇探测、导航定位等军事领域有迫切需求
  2. 生物医学突破:
    单分子磁共振、神经科学研究对纳米级磁场传感器的需求激增
  3. 工业4.0升级:
    智能制造、精密加工对高精度温度、应力传感器的需求持续增长
  4. 科研投入增加:
    各国政府加大量子科技研发投入,推动基础研究和技术转化

🎯 目标客户群体

  • 科研机构:
    大学物理系、量子研究所、国家实验室(预计国内市场300+家)
  • 量子科技企业:
    从事量子传感器、量子计算、量子通信的创业公司和大企业研发部门(国内50+家)
  • 传统传感器厂商:
    寻求技术升级的磁传感器、温度传感器制造商
  • 第三方检测机构:
    提供NV色心材料性能测试服务的专业机构

"中国在量子科技领域的投入持续增加,'十四五'规划将量子信息列为重点发展方向。郑州大学的这项发明恰逢其时,有望填补国内在NV色心表征设备领域的空白,打破进口依赖。"

六、国内外动态与技术竞争

🌏 国际研究热点

  • 欧洲:
    德国斯图加特大学、英国剑桥大学等在NV色心量子传感领域处于领先地位,但其设备多为定制化实验室系统,商业化程度较低
  • 北美:
    美国哈佛大学、麻省理工学院等重点研究单NV色心操控和量子网络,相关初创公司如Quantum Diamond Technologies开始推出商业化产品,但价格昂贵(单台设备30-50万美元)
  • 日本:
    金刚石量子传感器在生物医学成像领域取得突破,大阪大学团队实现了单细胞内磁场的纳米级成像

🇨🇳 国内研究进展

  • 中国科学技术大学:
    杜江峰院士团队在NV色心量子精密测量方面国际领先,实现了原子尺度的磁共振成像
  • 南方科技大学:
    研发了基于NV色心的纳米级温度传感器,精度达0.1K
  • 国仪量子:
    国内首家商业化量子测控仪器公司,已推出金刚石量子计算教学机,但在NV色心表征设备方面尚未形成完整产品线

郑州大学的创新优势:本专利设备通过高度集成化和模块化设计,兼顾了科研级性能和工业级可靠性,有望以更具竞争力的价格(预计10-20万美元)进入市场,满足国内科研和工业用户的需求。

七、技术路线图与未来展望

🛣️ 短期(1-2年):产品化与市场验证

  • 完成工程样机研制和稳定性测试
  • 与2-3家头部科研机构合作开展应用验证
  • 申请国家重点研发计划项目支持,推动产业化
  • 建立标准化测试流程和软件平台

🚀 中期(3-5年):功能扩展与规模化应用

  • 集成扫描振镜,实现二维/三维磁场、温度成像
  • 开发低温版本(4K-300K可调),拓展应用场景
  • 与半导体、生物医学企业合作,开发行业定制化方案
  • 建立全国服务网络,提供设备维护和技术支持

🌟 长期(5-10年):引领量子传感产业生态

  • 形成覆盖材料制备-性能表征-传感器应用的完整产业链
  • 推动NV色心量子传感器在智能制造、医疗诊断等领域的大规模应用
  • 参与国际标准制定,提升中国在量子传感领域的话语权

💎 总结:开启量子传感表征新时代

郑州大学的这项发明通过创新的集成化设计,解决了NV色心量子传感器研发中的关键瓶颈,为金刚石量子材料的高效表征和传感器产业化提供了强有力的工具支撑。随着量子科技的快速发展,该设备有望成为科研机构和企业的标配装备,推动中国在量子传感领域实现从"跟跑"到"并跑"乃至"领跑"的跨越。

专利信息

📋 申请号:202511759091.1

📅 申请日:2025年11月27日

📅 公布日:2026年2月3日

🏫 申请人:郑州大学

👨‍🔬 发明人:单崇新、张元、余辉辉、秦志昂、吴琦隆、陈家辉

🔖 国际分类:G01N 21/64 (2006.01);G01N 21/01 (2006.01)

关注我们,获取更多量子科技前沿资讯

本文内容基于公开专利信息整理,仅供学习交流使用

激光光学计算器 

用于计算光学参数、光束传播和脉冲特性的高级工具。

支持逆向计算、实时趋势分析和全光谱可视化。

激光每日说-元宝智能体,

汇总公众号相关全部文章知识库,方便调取查询

最新文章

随机文章

基本 文件 流程 错误 SQL 调试
  1. 请求信息 : 2026-04-21 22:06:27 HTTP/2.0 GET : https://i.460.net.cn/a/494300.html
  2. 运行时间 : 0.587994s [ 吞吐率:1.70req/s ] 内存消耗:4,377.05kb 文件加载:140
  3. 缓存信息 : 0 reads,0 writes
  4. 会话信息 : SESSION_ID=89a0d85b6c81996490dd7180c0ecb7f0
  1. /yingpanguazai/ssd/ssd1/www/i.460.net.cn/public/index.php ( 0.79 KB )
  2. /yingpanguazai/ssd/ssd1/www/i.460.net.cn/vendor/autoload.php ( 0.17 KB )
  3. /yingpanguazai/ssd/ssd1/www/i.460.net.cn/vendor/composer/autoload_real.php ( 2.49 KB )
  4. /yingpanguazai/ssd/ssd1/www/i.460.net.cn/vendor/composer/platform_check.php ( 0.90 KB )
  5. /yingpanguazai/ssd/ssd1/www/i.460.net.cn/vendor/composer/ClassLoader.php ( 14.03 KB )
  6. /yingpanguazai/ssd/ssd1/www/i.460.net.cn/vendor/composer/autoload_static.php ( 4.90 KB )
  7. /yingpanguazai/ssd/ssd1/www/i.460.net.cn/vendor/topthink/think-helper/src/helper.php ( 8.34 KB )
  8. /yingpanguazai/ssd/ssd1/www/i.460.net.cn/vendor/topthink/think-validate/src/helper.php ( 2.19 KB )
  9. /yingpanguazai/ssd/ssd1/www/i.460.net.cn/vendor/topthink/think-orm/src/helper.php ( 1.47 KB )
  10. /yingpanguazai/ssd/ssd1/www/i.460.net.cn/vendor/topthink/think-orm/stubs/load_stubs.php ( 0.16 KB )
  11. /yingpanguazai/ssd/ssd1/www/i.460.net.cn/vendor/topthink/framework/src/think/Exception.php ( 1.69 KB )
  12. /yingpanguazai/ssd/ssd1/www/i.460.net.cn/vendor/topthink/think-container/src/Facade.php ( 2.71 KB )
  13. /yingpanguazai/ssd/ssd1/www/i.460.net.cn/vendor/symfony/deprecation-contracts/function.php ( 0.99 KB )
  14. /yingpanguazai/ssd/ssd1/www/i.460.net.cn/vendor/symfony/polyfill-mbstring/bootstrap.php ( 8.26 KB )
  15. /yingpanguazai/ssd/ssd1/www/i.460.net.cn/vendor/symfony/polyfill-mbstring/bootstrap80.php ( 9.78 KB )
  16. /yingpanguazai/ssd/ssd1/www/i.460.net.cn/vendor/symfony/var-dumper/Resources/functions/dump.php ( 1.49 KB )
  17. /yingpanguazai/ssd/ssd1/www/i.460.net.cn/vendor/topthink/think-dumper/src/helper.php ( 0.18 KB )
  18. /yingpanguazai/ssd/ssd1/www/i.460.net.cn/vendor/symfony/var-dumper/VarDumper.php ( 4.30 KB )
  19. /yingpanguazai/ssd/ssd1/www/i.460.net.cn/vendor/topthink/framework/src/think/App.php ( 15.30 KB )
  20. /yingpanguazai/ssd/ssd1/www/i.460.net.cn/vendor/topthink/think-container/src/Container.php ( 15.76 KB )
  21. /yingpanguazai/ssd/ssd1/www/i.460.net.cn/vendor/psr/container/src/ContainerInterface.php ( 1.02 KB )
  22. /yingpanguazai/ssd/ssd1/www/i.460.net.cn/app/provider.php ( 0.19 KB )
  23. /yingpanguazai/ssd/ssd1/www/i.460.net.cn/vendor/topthink/framework/src/think/Http.php ( 6.04 KB )
  24. /yingpanguazai/ssd/ssd1/www/i.460.net.cn/vendor/topthink/think-helper/src/helper/Str.php ( 7.29 KB )
  25. /yingpanguazai/ssd/ssd1/www/i.460.net.cn/vendor/topthink/framework/src/think/Env.php ( 4.68 KB )
  26. /yingpanguazai/ssd/ssd1/www/i.460.net.cn/app/common.php ( 0.03 KB )
  27. /yingpanguazai/ssd/ssd1/www/i.460.net.cn/vendor/topthink/framework/src/helper.php ( 18.78 KB )
  28. /yingpanguazai/ssd/ssd1/www/i.460.net.cn/vendor/topthink/framework/src/think/Config.php ( 5.54 KB )
  29. /yingpanguazai/ssd/ssd1/www/i.460.net.cn/config/app.php ( 0.95 KB )
  30. /yingpanguazai/ssd/ssd1/www/i.460.net.cn/config/cache.php ( 0.78 KB )
  31. /yingpanguazai/ssd/ssd1/www/i.460.net.cn/config/console.php ( 0.23 KB )
  32. /yingpanguazai/ssd/ssd1/www/i.460.net.cn/config/cookie.php ( 0.56 KB )
  33. /yingpanguazai/ssd/ssd1/www/i.460.net.cn/config/database.php ( 2.47 KB )
  34. /yingpanguazai/ssd/ssd1/www/i.460.net.cn/vendor/topthink/framework/src/think/facade/Env.php ( 1.67 KB )
  35. /yingpanguazai/ssd/ssd1/www/i.460.net.cn/config/filesystem.php ( 0.61 KB )
  36. /yingpanguazai/ssd/ssd1/www/i.460.net.cn/config/lang.php ( 0.91 KB )
  37. /yingpanguazai/ssd/ssd1/www/i.460.net.cn/config/log.php ( 1.35 KB )
  38. /yingpanguazai/ssd/ssd1/www/i.460.net.cn/config/middleware.php ( 0.19 KB )
  39. /yingpanguazai/ssd/ssd1/www/i.460.net.cn/config/route.php ( 1.89 KB )
  40. /yingpanguazai/ssd/ssd1/www/i.460.net.cn/config/session.php ( 0.57 KB )
  41. /yingpanguazai/ssd/ssd1/www/i.460.net.cn/config/trace.php ( 0.34 KB )
  42. /yingpanguazai/ssd/ssd1/www/i.460.net.cn/config/view.php ( 0.82 KB )
  43. /yingpanguazai/ssd/ssd1/www/i.460.net.cn/app/event.php ( 0.25 KB )
  44. /yingpanguazai/ssd/ssd1/www/i.460.net.cn/vendor/topthink/framework/src/think/Event.php ( 7.67 KB )
  45. /yingpanguazai/ssd/ssd1/www/i.460.net.cn/app/service.php ( 0.13 KB )
  46. /yingpanguazai/ssd/ssd1/www/i.460.net.cn/app/AppService.php ( 0.26 KB )
  47. /yingpanguazai/ssd/ssd1/www/i.460.net.cn/vendor/topthink/framework/src/think/Service.php ( 1.64 KB )
  48. /yingpanguazai/ssd/ssd1/www/i.460.net.cn/vendor/topthink/framework/src/think/Lang.php ( 7.35 KB )
  49. /yingpanguazai/ssd/ssd1/www/i.460.net.cn/vendor/topthink/framework/src/lang/zh-cn.php ( 13.70 KB )
  50. /yingpanguazai/ssd/ssd1/www/i.460.net.cn/vendor/topthink/framework/src/think/initializer/Error.php ( 3.31 KB )
  51. /yingpanguazai/ssd/ssd1/www/i.460.net.cn/vendor/topthink/framework/src/think/initializer/RegisterService.php ( 1.33 KB )
  52. /yingpanguazai/ssd/ssd1/www/i.460.net.cn/vendor/services.php ( 0.14 KB )
  53. /yingpanguazai/ssd/ssd1/www/i.460.net.cn/vendor/topthink/framework/src/think/service/PaginatorService.php ( 1.52 KB )
  54. /yingpanguazai/ssd/ssd1/www/i.460.net.cn/vendor/topthink/framework/src/think/service/ValidateService.php ( 0.99 KB )
  55. /yingpanguazai/ssd/ssd1/www/i.460.net.cn/vendor/topthink/framework/src/think/service/ModelService.php ( 2.04 KB )
  56. /yingpanguazai/ssd/ssd1/www/i.460.net.cn/vendor/topthink/think-trace/src/Service.php ( 0.77 KB )
  57. /yingpanguazai/ssd/ssd1/www/i.460.net.cn/vendor/topthink/framework/src/think/Middleware.php ( 6.72 KB )
  58. /yingpanguazai/ssd/ssd1/www/i.460.net.cn/vendor/topthink/framework/src/think/initializer/BootService.php ( 0.77 KB )
  59. /yingpanguazai/ssd/ssd1/www/i.460.net.cn/vendor/topthink/think-orm/src/Paginator.php ( 11.86 KB )
  60. /yingpanguazai/ssd/ssd1/www/i.460.net.cn/vendor/topthink/think-validate/src/Validate.php ( 63.20 KB )
  61. /yingpanguazai/ssd/ssd1/www/i.460.net.cn/vendor/topthink/think-orm/src/Model.php ( 23.55 KB )
  62. /yingpanguazai/ssd/ssd1/www/i.460.net.cn/vendor/topthink/think-orm/src/model/concern/Attribute.php ( 21.05 KB )
  63. /yingpanguazai/ssd/ssd1/www/i.460.net.cn/vendor/topthink/think-orm/src/model/concern/AutoWriteData.php ( 4.21 KB )
  64. /yingpanguazai/ssd/ssd1/www/i.460.net.cn/vendor/topthink/think-orm/src/model/concern/Conversion.php ( 6.44 KB )
  65. /yingpanguazai/ssd/ssd1/www/i.460.net.cn/vendor/topthink/think-orm/src/model/concern/DbConnect.php ( 5.16 KB )
  66. /yingpanguazai/ssd/ssd1/www/i.460.net.cn/vendor/topthink/think-orm/src/model/concern/ModelEvent.php ( 2.33 KB )
  67. /yingpanguazai/ssd/ssd1/www/i.460.net.cn/vendor/topthink/think-orm/src/model/concern/RelationShip.php ( 28.29 KB )
  68. /yingpanguazai/ssd/ssd1/www/i.460.net.cn/vendor/topthink/think-helper/src/contract/Arrayable.php ( 0.09 KB )
  69. /yingpanguazai/ssd/ssd1/www/i.460.net.cn/vendor/topthink/think-helper/src/contract/Jsonable.php ( 0.13 KB )
  70. /yingpanguazai/ssd/ssd1/www/i.460.net.cn/vendor/topthink/think-orm/src/model/contract/Modelable.php ( 0.09 KB )
  71. /yingpanguazai/ssd/ssd1/www/i.460.net.cn/vendor/topthink/framework/src/think/Db.php ( 2.88 KB )
  72. /yingpanguazai/ssd/ssd1/www/i.460.net.cn/vendor/topthink/think-orm/src/DbManager.php ( 8.52 KB )
  73. /yingpanguazai/ssd/ssd1/www/i.460.net.cn/vendor/topthink/framework/src/think/Log.php ( 6.28 KB )
  74. /yingpanguazai/ssd/ssd1/www/i.460.net.cn/vendor/topthink/framework/src/think/Manager.php ( 3.92 KB )
  75. /yingpanguazai/ssd/ssd1/www/i.460.net.cn/vendor/psr/log/src/LoggerTrait.php ( 2.69 KB )
  76. /yingpanguazai/ssd/ssd1/www/i.460.net.cn/vendor/psr/log/src/LoggerInterface.php ( 2.71 KB )
  77. /yingpanguazai/ssd/ssd1/www/i.460.net.cn/vendor/topthink/framework/src/think/Cache.php ( 4.92 KB )
  78. /yingpanguazai/ssd/ssd1/www/i.460.net.cn/vendor/psr/simple-cache/src/CacheInterface.php ( 4.71 KB )
  79. /yingpanguazai/ssd/ssd1/www/i.460.net.cn/vendor/topthink/think-helper/src/helper/Arr.php ( 16.63 KB )
  80. /yingpanguazai/ssd/ssd1/www/i.460.net.cn/vendor/topthink/framework/src/think/cache/driver/File.php ( 7.84 KB )
  81. /yingpanguazai/ssd/ssd1/www/i.460.net.cn/vendor/topthink/framework/src/think/cache/Driver.php ( 9.03 KB )
  82. /yingpanguazai/ssd/ssd1/www/i.460.net.cn/vendor/topthink/framework/src/think/contract/CacheHandlerInterface.php ( 1.99 KB )
  83. /yingpanguazai/ssd/ssd1/www/i.460.net.cn/app/Request.php ( 0.09 KB )
  84. /yingpanguazai/ssd/ssd1/www/i.460.net.cn/vendor/topthink/framework/src/think/Request.php ( 55.78 KB )
  85. /yingpanguazai/ssd/ssd1/www/i.460.net.cn/app/middleware.php ( 0.25 KB )
  86. /yingpanguazai/ssd/ssd1/www/i.460.net.cn/vendor/topthink/framework/src/think/Pipeline.php ( 2.61 KB )
  87. /yingpanguazai/ssd/ssd1/www/i.460.net.cn/vendor/topthink/think-trace/src/TraceDebug.php ( 3.40 KB )
  88. /yingpanguazai/ssd/ssd1/www/i.460.net.cn/vendor/topthink/framework/src/think/middleware/SessionInit.php ( 1.94 KB )
  89. /yingpanguazai/ssd/ssd1/www/i.460.net.cn/vendor/topthink/framework/src/think/Session.php ( 1.80 KB )
  90. /yingpanguazai/ssd/ssd1/www/i.460.net.cn/vendor/topthink/framework/src/think/session/driver/File.php ( 6.27 KB )
  91. /yingpanguazai/ssd/ssd1/www/i.460.net.cn/vendor/topthink/framework/src/think/contract/SessionHandlerInterface.php ( 0.87 KB )
  92. /yingpanguazai/ssd/ssd1/www/i.460.net.cn/vendor/topthink/framework/src/think/session/Store.php ( 7.12 KB )
  93. /yingpanguazai/ssd/ssd1/www/i.460.net.cn/vendor/topthink/framework/src/think/Route.php ( 23.73 KB )
  94. /yingpanguazai/ssd/ssd1/www/i.460.net.cn/vendor/topthink/framework/src/think/route/RuleName.php ( 5.75 KB )
  95. /yingpanguazai/ssd/ssd1/www/i.460.net.cn/vendor/topthink/framework/src/think/route/Domain.php ( 2.53 KB )
  96. /yingpanguazai/ssd/ssd1/www/i.460.net.cn/vendor/topthink/framework/src/think/route/RuleGroup.php ( 22.43 KB )
  97. /yingpanguazai/ssd/ssd1/www/i.460.net.cn/vendor/topthink/framework/src/think/route/Rule.php ( 26.95 KB )
  98. /yingpanguazai/ssd/ssd1/www/i.460.net.cn/vendor/topthink/framework/src/think/route/RuleItem.php ( 9.78 KB )
  99. /yingpanguazai/ssd/ssd1/www/i.460.net.cn/route/app.php ( 1.72 KB )
  100. /yingpanguazai/ssd/ssd1/www/i.460.net.cn/vendor/topthink/framework/src/think/facade/Route.php ( 4.70 KB )
  101. /yingpanguazai/ssd/ssd1/www/i.460.net.cn/vendor/topthink/framework/src/think/route/dispatch/Controller.php ( 4.74 KB )
  102. /yingpanguazai/ssd/ssd1/www/i.460.net.cn/vendor/topthink/framework/src/think/route/Dispatch.php ( 10.44 KB )
  103. /yingpanguazai/ssd/ssd1/www/i.460.net.cn/app/controller/Index.php ( 4.81 KB )
  104. /yingpanguazai/ssd/ssd1/www/i.460.net.cn/app/BaseController.php ( 2.05 KB )
  105. /yingpanguazai/ssd/ssd1/www/i.460.net.cn/vendor/topthink/think-orm/src/facade/Db.php ( 0.93 KB )
  106. /yingpanguazai/ssd/ssd1/www/i.460.net.cn/vendor/topthink/think-orm/src/db/connector/Mysql.php ( 5.44 KB )
  107. /yingpanguazai/ssd/ssd1/www/i.460.net.cn/vendor/topthink/think-orm/src/db/PDOConnection.php ( 52.47 KB )
  108. /yingpanguazai/ssd/ssd1/www/i.460.net.cn/vendor/topthink/think-orm/src/db/Connection.php ( 8.39 KB )
  109. /yingpanguazai/ssd/ssd1/www/i.460.net.cn/vendor/topthink/think-orm/src/db/ConnectionInterface.php ( 4.57 KB )
  110. /yingpanguazai/ssd/ssd1/www/i.460.net.cn/vendor/topthink/think-orm/src/db/builder/Mysql.php ( 16.58 KB )
  111. /yingpanguazai/ssd/ssd1/www/i.460.net.cn/vendor/topthink/think-orm/src/db/Builder.php ( 24.06 KB )
  112. /yingpanguazai/ssd/ssd1/www/i.460.net.cn/vendor/topthink/think-orm/src/db/BaseBuilder.php ( 27.50 KB )
  113. /yingpanguazai/ssd/ssd1/www/i.460.net.cn/vendor/topthink/think-orm/src/db/Query.php ( 15.71 KB )
  114. /yingpanguazai/ssd/ssd1/www/i.460.net.cn/vendor/topthink/think-orm/src/db/BaseQuery.php ( 45.13 KB )
  115. /yingpanguazai/ssd/ssd1/www/i.460.net.cn/vendor/topthink/think-orm/src/db/concern/TimeFieldQuery.php ( 7.43 KB )
  116. /yingpanguazai/ssd/ssd1/www/i.460.net.cn/vendor/topthink/think-orm/src/db/concern/AggregateQuery.php ( 3.26 KB )
  117. /yingpanguazai/ssd/ssd1/www/i.460.net.cn/vendor/topthink/think-orm/src/db/concern/ModelRelationQuery.php ( 20.07 KB )
  118. /yingpanguazai/ssd/ssd1/www/i.460.net.cn/vendor/topthink/think-orm/src/db/concern/ParamsBind.php ( 3.66 KB )
  119. /yingpanguazai/ssd/ssd1/www/i.460.net.cn/vendor/topthink/think-orm/src/db/concern/ResultOperation.php ( 7.01 KB )
  120. /yingpanguazai/ssd/ssd1/www/i.460.net.cn/vendor/topthink/think-orm/src/db/concern/WhereQuery.php ( 19.37 KB )
  121. /yingpanguazai/ssd/ssd1/www/i.460.net.cn/vendor/topthink/think-orm/src/db/concern/JoinAndViewQuery.php ( 7.11 KB )
  122. /yingpanguazai/ssd/ssd1/www/i.460.net.cn/vendor/topthink/think-orm/src/db/concern/TableFieldInfo.php ( 2.63 KB )
  123. /yingpanguazai/ssd/ssd1/www/i.460.net.cn/vendor/topthink/think-orm/src/db/concern/Transaction.php ( 2.77 KB )
  124. /yingpanguazai/ssd/ssd1/www/i.460.net.cn/vendor/topthink/framework/src/think/log/driver/File.php ( 5.96 KB )
  125. /yingpanguazai/ssd/ssd1/www/i.460.net.cn/vendor/topthink/framework/src/think/contract/LogHandlerInterface.php ( 0.86 KB )
  126. /yingpanguazai/ssd/ssd1/www/i.460.net.cn/vendor/topthink/framework/src/think/log/Channel.php ( 3.89 KB )
  127. /yingpanguazai/ssd/ssd1/www/i.460.net.cn/vendor/topthink/framework/src/think/event/LogRecord.php ( 1.02 KB )
  128. /yingpanguazai/ssd/ssd1/www/i.460.net.cn/vendor/topthink/think-helper/src/Collection.php ( 16.47 KB )
  129. /yingpanguazai/ssd/ssd1/www/i.460.net.cn/vendor/topthink/framework/src/think/facade/View.php ( 1.70 KB )
  130. /yingpanguazai/ssd/ssd1/www/i.460.net.cn/vendor/topthink/framework/src/think/View.php ( 4.39 KB )
  131. /yingpanguazai/ssd/ssd1/www/i.460.net.cn/vendor/topthink/framework/src/think/Response.php ( 8.81 KB )
  132. /yingpanguazai/ssd/ssd1/www/i.460.net.cn/vendor/topthink/framework/src/think/response/View.php ( 3.29 KB )
  133. /yingpanguazai/ssd/ssd1/www/i.460.net.cn/vendor/topthink/framework/src/think/Cookie.php ( 6.06 KB )
  134. /yingpanguazai/ssd/ssd1/www/i.460.net.cn/vendor/topthink/think-view/src/Think.php ( 8.38 KB )
  135. /yingpanguazai/ssd/ssd1/www/i.460.net.cn/vendor/topthink/framework/src/think/contract/TemplateHandlerInterface.php ( 1.60 KB )
  136. /yingpanguazai/ssd/ssd1/www/i.460.net.cn/vendor/topthink/think-template/src/Template.php ( 46.61 KB )
  137. /yingpanguazai/ssd/ssd1/www/i.460.net.cn/vendor/topthink/think-template/src/template/driver/File.php ( 2.41 KB )
  138. /yingpanguazai/ssd/ssd1/www/i.460.net.cn/vendor/topthink/think-template/src/template/contract/DriverInterface.php ( 0.86 KB )
  139. /yingpanguazai/ssd/ssd1/www/i.460.net.cn/runtime/temp/ea612fc1da910b74827694dd9af81119.php ( 11.98 KB )
  140. /yingpanguazai/ssd/ssd1/www/i.460.net.cn/vendor/topthink/think-trace/src/Html.php ( 4.42 KB )
  1. CONNECT:[ UseTime:0.003255s ] mysql:host=127.0.0.1;port=3306;dbname=i460;charset=utf8mb4
  2. SHOW FULL COLUMNS FROM `fenlei` [ RunTime:0.031984s ]
  3. SELECT * FROM `fenlei` WHERE `fid` = 0 [ RunTime:0.000558s ]
  4. SELECT * FROM `fenlei` WHERE `fid` = 63 [ RunTime:0.000451s ]
  5. SHOW FULL COLUMNS FROM `set` [ RunTime:0.000981s ]
  6. SELECT * FROM `set` [ RunTime:0.000407s ]
  7. SHOW FULL COLUMNS FROM `article` [ RunTime:0.001947s ]
  8. SELECT * FROM `article` WHERE `id` = 494300 LIMIT 1 [ RunTime:0.000768s ]
  9. UPDATE `article` SET `lasttime` = 1776780388 WHERE `id` = 494300 [ RunTime:0.003130s ]
  10. SELECT * FROM `fenlei` WHERE `id` = 64 LIMIT 1 [ RunTime:0.000445s ]
  11. SELECT * FROM `article` WHERE `id` < 494300 ORDER BY `id` DESC LIMIT 1 [ RunTime:0.000865s ]
  12. SELECT * FROM `article` WHERE `id` > 494300 ORDER BY `id` ASC LIMIT 1 [ RunTime:0.000757s ]
  13. SELECT * FROM `article` WHERE `id` < 494300 ORDER BY `id` DESC LIMIT 10 [ RunTime:0.001800s ]
  14. SELECT * FROM `article` WHERE `id` < 494300 ORDER BY `id` DESC LIMIT 10,10 [ RunTime:0.001337s ]
  15. SELECT * FROM `article` WHERE `id` < 494300 ORDER BY `id` DESC LIMIT 20,10 [ RunTime:0.001208s ]
0.598949s